[Nächstes Kapitel] [vorangehendes Kapitel] [vorangehendes Kapitel (SeitenEnde)] [SeitenEnde] [Inhalt]
Eine Schraubverbindung ist eine lösbare Verbindung von zwei oder mehreren Teilen durch eine oder mehrere Schrauben. Sie soll Kräfte sowie Momente zwischen den verbundenen Teilen bei eindeutiger Lagezuordnung übertragen. Zur schnellen und einfachen Ermittlung eines Mindestschraubendurchmessers wird die Grobdimensionierung der VDI 2230 genutzt. Die Festlegungen in der VDI 2230 gelten für Stahlschrauben in hochbeanspruchten und hochfesten Schraubverbindungen (für Festigkeitsklassen 8.8 bis 12.9) und einer kraftschlüssigen Übertragung der Betriebsbelastung. Diese besteht in der Regel aus einer statischen oder dynamischen Axialkraft. Darüber hinaus können Biegemomente und Querkräfte auftreten.

Unter der Vorgabe der maximale Axialkraft und/oder Querkraft lassen sich die minimale und maximale Vorspannkraft sowie der Mindestschraubendurchmesser abschätzen. Bei der Dimensionierung nach der Querkraft wird zusätzlich der Reibfaktor in der Trennfuge berücksichtigt.
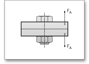
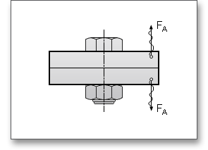
Die Axialkraft \(F_{A}\) ist eine in Schraubenachse gerichtete und anteilig auf eine Schraube wirkende Betriebskraft.

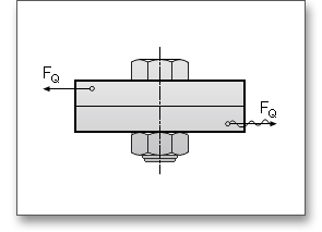
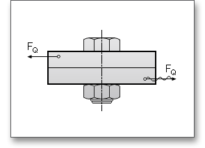
Die Querkraft \(F_{Q}\) ist eine senkrecht zur Schraubenachse gerichtete Betriebskraft.

Im Maschinenbau werden Schraubverbindungen so ausgelegt, dass die Querkräfte durch Haftreibung in den Trennfugen einer vorgespannten Verbindung übertragen werden. Es ist jedoch auch möglich, dass die Verbindungselemente selbst (Passschraube, Stifte, Hülsen) Querkräfte formschlüssig übertragen. Bei der Dimensionierung nach der Querkraft wird zusätzlich der Reibfaktor in der Trennfuge berücksichtigt. Klicken Sie auf den Fragezeichen-Button neben dem Eingabefeld für den Reibbeiwert, dann öffnet sich die folgende Tabelle mit Anhaltswerten für die Haftreibungszahlen:
| Näherungswerte für die Wahl der Haftreibungszahlen in der Trennfuge nach VDI 22301
| ||
| Stoffpaarung | Haftreibungszahlen im Zustand | |
| trocken | geschmiert | |
| Stahl - Stahl/Stahlguss | 0,1 bis 0,23 | 0,07 bis 0,12 |
| Stahl - GG | 0,12 bis 0,24 | 0,06 bis 0,1 |
| GG - GG | 0,15 bis 0,3 | 0,2 |
| Bronze - Stahl | 0,12 bis 0,28 | 0,18 |
| GG - Bronze | 0,28 | 0,15 bis 0,2 |
| Stahl - Kupferlegierung | 0,07 | - |
| Stahl - Aluminiumlegierung | 0,1 bis 0,28 | 0,05 bis 0,18 |
| Aluminium - Aluminium | 0,21 | - |
| 1 Tabelle aus: VDI 2230, Blatt 1, Februar 2003:
Systematische Berechnung hochbeanspruchter Schraubenverbindungen Zylindrische
Einschraubenverbindungen, Tabelle A6, Näherungswerte für Haftreibungszahlen, S. 113
| ||
Die Berechnung kann mit den drei gebräuchlichsten Schraubenfestigkeitsklassen 8.8, 10.9 und 12.9 durchgeführt werden. Die Festigkeitsklassen geben Informationen zu den Eigenschaften einer Schraube, wie Härte, Zugfestigkeit \(R_{m}\) und Streckgrenze \(R_{e}\). In der Industrie kommt sehr häufig die Klasse 8.8 zur Verwendung. 10.9 und 12.9 werden vor allem für berechnete und definiert vorgespannte Schraubverbindungen verwendet.

Für die Krafteinwirkung bzw. Krafteinleitung stehen folgende Auswahlmöglichkeiten zur Verfügung:

Klicken Sie auf den Fragezeichen-Button links neben der Listbox, erhalten Sie eine Abbildung der einzelnen Krafteinwirkungen.






Das Anziehverfahren beeinflusst die erforderlichen Abmessungen der Schraube und sollte sorgfältig ausgewählt werden. Aus der Listbox lassen sich die folgenden Verfahren auswählen:

Die Vorspannkraft \(F_{M}\) wird bei der Montage der Verbindung erzeugt. Diese Vorspannkraft erzeugt in der
Trennfuge eine Klemmkraft \(F_{K}\). \(F_{Mmin}\) ist die erforderliche Mindest-Montage-Vorspannkraft, die bei \(F_{Mmax}\) infolge von
Ungenauigkeiten des Anziehverfahrens und maximaler Reibung auftreten kann. \(F_{Mmax}\) ist die maximale
Vorspannkraft, für die eine Schraube ausgelegt werden muss, damit trotz Ungenauigkeiten des
Anziehverfahrens die erforderlich Klemmkraft in der Verbindung erzeugt wird und auch erhalten
bleibt.
Für weitere Fragen, Informationen oder auch Anregungen stehen wir Ihnen jederzeit gern zur Verfügung. Sie erreichen unser Support-Team über die E-Mail info@tbksoft.eu oder unter der Telefon-Nr. +49 (0) 531 129 399-0.